Магазин запчастей для бытовой техники - Arlos
Москва
close
Выберите ваш регион
АбаканАлександровАльметьевскАнгарскАрзамасАрмавирАртемАрхангельскАстраханьАчинскБалаковоБалашихаБеларусьБелгородБердскБерезникиБийскБлаговещенскБратскБрянскВеликий НовгородВидноеВладивостокВладикавказВладимирВолгоградВолгодонскВолжскийВологдаВолховВоркутаВоронежВоскресенскВыборгГатчинаГеленджикГрозныйДедовскДербентДзержинскДзержинскийДимитровградДмитровДолгопрудныйДомодедовоДонецкЕвпаторияЕгорьевскЕкатеринбургЕлецЕссентукиЖелезногорскЖелезнодорожныйЖуковскийЗеленоградЗлатоустИвановоИвантеевкаИжевскИркутскИстраЙошкар-ОлаКазаньКалининградКалугаКаменск-УральскийКамышинКаспийскКемеровоКерчьКировКисловодскКлинКовровКоломнаКомсомольск-на-АмуреКопейскКоролёвКостромаКотельникиКрасногорскКраснодарКраснознаменскКрасноярскКурганКурскКызылЛенинск-КузнецкийЛипецкЛобняЛыткариноЛюберцыМагнитогорскМайкопМалаховкаМахачкалаМиассМоскваМурманскМуромМытищиНабережные ЧелныНазраньНальчикНаро-ФоминскНахабиноНаходкаНевинномысскНефтекамскНефтеюганскНижневартовскНижнекамскНижний НовгородНижний ТагилНовокузнецкНовокуйбышевскНовомосковскНовороссийскНовосибирскНовоуральскНовочебоксарскНовочеркасскНовошахтинскНовый УренгойНогинскНорильскНоябрьскОбнинскОдинцовоОктябрьскийОмскОрелОренбургОрехово-ЗуевоОрскПавловский ПосадПензаПервоуральскПермьПетрозаводскПетропавловск-КамчатскийПодольскПрокопьевскПсковПушкиноПятигорскРаменскоеРеутовРостов-на-ДонуРубцовскРыбинскРязаньСакиСалаватСамараСанкт-ПетербургСаранскСаратовСевастопольСеверодвинскСеверскСергиев ПосадСерпуховСимферопольСмоленскСосновый БорСочиСтавропольСтарый ОсколСтерлитамакСтупиноСургутСызраньСыктывкарТаганрогТамбовТверьТихвинТольяттиТомилиноТомскТроицкТулаТюменьУлан-УдэУльяновскУссурийскУсть-ИлимскУфаУхтаФеодосияФрязиноХабаровскХанты-МансийскХасавюртХимкиЧебоксарыЧелябинскЧереповецЧеркесскЧеховЧитаШахтыЩелковоЭлектростальЭлистаЭнгельсЮжно-СахалинскЯкутскЯлтаЯрославль
  • - бесплатно по РФ
    Автоперезвон. Работает по принципу: Вы позвонили на номер, мы сбрасываем звонок и перезваниваем через 3 секунды.
  • - по Москве
  • 8 (925) 663-83-63

Call-центр

пн-вс: 10:00-19:00

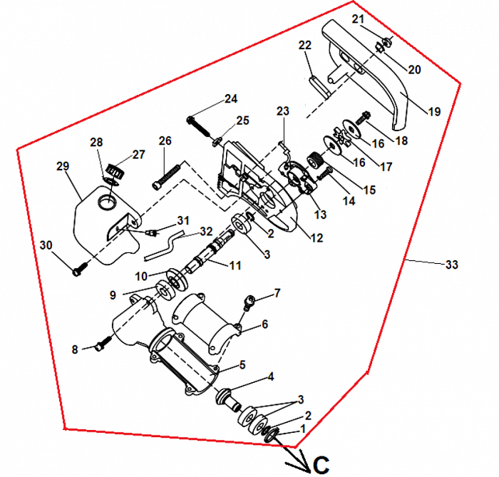
3 РЕДУКТОР ВЫСОТОРЕЗ CHAMPION PP126

NАртикулНазваниеСрок отгрузкиЦенаКупить
1 03010010057 Кольцо стопорное 28
2 03120010002 Кольцо стопорное 12
3 03090010020 Подшипник 6001-2RS 100 р.
4 02020090120 Вал-шестерня редуктора
5 80010040040 Корпус редуктора 704 р.
6 80010060022 Крышка редуктора 187 р.
7 03010010057 Болт М5х25
8 03010010061 Болт М5х20
9 03090010028 Подшипник 6001 161 р.
10 02020090110 Шестерня редуктора
11 02020090109 Вал редуктора
12 80010040039 Плата корпуса редуктора
13 02050130005 Маслонасос 596 р.
14 03010060055 Болт М5х16
15 02020090108 Червяк маслонасоса 532 р.
16 02050110021 Шайба ведущей звездочки
17 02050110020 Звездочка ведущая 168 р.
18 03010030009 Болт М6х10
19 70030030460 Крышка шины 188 р.
20 02030030014 Втулка крышки шины
21 03030050002 Гайка крепления крышки шины
22 02080030033 Прокладка
23 02080030031 Уплотнение шланга маслонасоса
24 03010060050 Болт натяжения цепи 24 р.
25 03030070063 Палец натяжения цепи 51 р.
26 03010010034 Болт М6х40
27 70030060132 Пробка масляного бака 206 р.
28 02070020057 Кольцо уплотнительное пробки
29 70050030103 Бак масляный 446 р.
30 03020020052 Болт М5х20
31 02080040010 Клапан сапуна
32 01040010011 Шланг масляный 180 р.
33 61270030085 Редуктор комплект 9.231 р.
Найдено товаров: 33
1
▲ Наверх
0
8 (925) 663-83-63

Call-центр

пн-вс: 10:00-19:00

НАЙТИ ПО МОДЕЛИ
Введите номер заказа
Введите номер своего заказа, что бы узнать его текущий статус.
Что бы получить доступ к расширенным функциям, пройдите не сложную регистрацию. Зарегистрироваться